Tarozi de masina, universali, scurti, HSS-G, pentru gaurire strapunsa si infundata, filet Whitworth BSW, ≈ DIN 352, VOLKEL
APLICATII
materiale neabrazive până la 900 N/mm²
oțel nealiat și slab aliat
pentru filetare manuală și pe mașini
pentru găuri străpunse și înfundate
CARACTERISTICI
 |
Filet Whitworth standard britanic BS 84
|
 |
Oţelul rapid, cunoscut sub numele de High Speed Steel, reprezintă o grupă de oţeluri aliate pentru unelte cu un conţinut de carbon de până la 2% şi până la 30% conţinut de elemente de aliaj precum tungsten (wolfram), molibden, vanadiu, cobalt, nichel şi titan
Materialele HSS se caracterizează prin duritate mare, rezistenţă la uzură şi o rezistenţă la căldură de până la 600°C
|
 |
Clasa de rezistență - 900 N/mm²
|
 |
Pentru găuri strapunse si infundate
|
 |
≈DIN 352 - Tarozi de mână, filet BSW & UNC
|
 |
 |
|
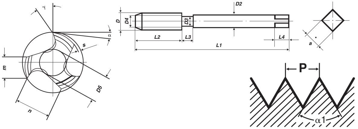
Forma D
Caneluri drepte, filet de intrare cu 4-5 spire teșite, pentru găuri străpunse și înfundate
|
 |
Prindere
|
 |
D – diametru nominal
D2 – diametrul cozii
D3 – diametrul gâtului
D4 – diametrul vârfului
D5 – diametrul pânzei
L1 – lungimea totală
L2 – lungimea filetului
L3 – lungimea gâtului
L4 – lungimea prinderii
|
P – pasul filetului
a – prindere
m – lățimea de contact
n – lățimea canelurii
α – unghi de degajare
γ – unghi de așezare
α1 – unghiul flancurilor filetului
|
UTILIZARE TAROZI
Tarozi de mână (set de 2 sau 3 buc.)

|
Tarod de degroșare (nr. 1)
Filet de intrare cu 6-8 spire
|
 |
La tarodul pentru filetare manuală este valabil faptul că după două rotiri ale tarodului trebuie realizată un sfert de rotaţie înapoi pentru a rupe şpanul
Astfel încărcarea pe tarod scade.
|

|
Tarod intermediar (nr. 2)
Filet de intrare cu 4-5 spire
|

|
Tarod de finisare (nr. 3)
Filet de intrare cu 2-3 spire
|
Tarozi de masina (universali)
 |
Filetarea se face cu un singur tarod
Pentru filetarea pe mașină trebuie aleasă în mod corespunzător turația corectă
Ei pot fi utilizați și ca tarozi de mână
|
Insertii pentru repararea filetelor
|

|
Fabricate din oțel de înaltă calitate
Cr Ni, inserțiile V-COIL asigură un filet interior de înaltă calitate care rezistă la temperatură ridicată și coroziune
|
 |
 |
 |
Recomandari
În primul rând trebuie identificat cât mai bine materialul în care se va executa filetul. Fiecare tip de tarod a fost proiectat și executat astfel încât să asigure o filetare optimă pentru fiecare material în parte (diferă atât duritatea materialului cât și forma șpanului)
Pentru execuția unui filet corespunzător, geometria (dimensiunile orificiului) trebuie respectată cu mare strictețe
Pentru mărirea duratei de tăiere a uneltei şi pentru calitatea optimă a suprafeţei se vor utiliza uleiuri de răcire a sculelor aşchietoare sau alţi agenţi de răcire pentru ungere, întrucât aceştia reduc frecarea dintre aşchie şi tarod (deci şi momentul de rotaţie necesar)


Specialist în scule pentru filetare și sisteme de inserții pentru repararea filetelor • 100 de ani de experiență în producția de tarozi • Companie cu sediul în Remscheid, Germania • Clienți din 70 de țări sunt satisfăcuți de calitatea produselor VÖLKEL
Specializare
Se concentrează pe ceea ce știe cel mai bine: scule pentru filetare
Calitate
Garantează o calitate bună și constantă pentru industrie
Prețuri
Oferă cele mai bune prețuri pentru produse de calitate
Servicii
Garantează livrarea la timp a tuturor produselor din program